
1-31/32 SUP COB TIN 4 T-A INSERT
Item #: BA52154T0131FB
Manufacturer: Allied Machine and Eng.
Mfg #: 154T-0131-
Technical Specifications:
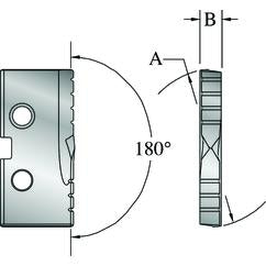
•Blade Thickness: 5/16 •Brand Name: Allied Machine and Eng. •Coating: TiN •Cutting Diameter (Inch/Metric): 1-31/32 •Material: Super Cobalt •Model Number: 154T-0131-FB •Series: 4 •Style: T-A Super Cobalt (CPM-T15) TiN Coated •Trade Name: Original T-A®
Description:
Shipping Info:
•Actual Weight - .1620
2% Off All Online Orders
Use Code: 2%OFF
Best Price Guarantee - Email Us A Better Published Price and We'll Beat It