
1-23/32 SUP COB TIN 3 T-A INSERT
Item #: BA52153T0123FB
Manufacturer: Allied Machine and Eng.
Mfg #: 153T-0123-
Technical Specifications:
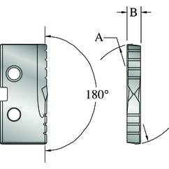
•Blade Thickness: 1/4 •Brand Name: Allied Machine and Eng. •Coating: TiN •Cutting Diameter (Inch/Metric): 1-23/32 •Material: Super Cobalt •Model Number: 153T-0123-FB •Series: 3 •Style: T-A Super Cobalt (CPM-T15) TiN Coated •Trade Name: Original T-A®
Description:
Shipping Info:
•Actual Weight - .0620
2% Off All Online Orders
Use Code: 2%OFF
Best Price Guarantee - Email Us A Better Published Price and We'll Beat It